Product Summary
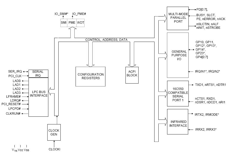
The LPC47N249-AAQ is a 64-Pin Super I/O controller with LPC Interface. The LPC47N249-AAQ implements the LPC interface, a pin reduced ISA interface which provides the same or better performance as the ISA/X-bus with a substantial savings in pins used. The part also includes 14 GPIO pins.
Parametrics
LPC47N249-AAQ absolute maximum ratings: (1) Overall Package Height: 1.6; (2) Standoff: 0.05 to 0.15; (3) Body Thickness: 1.35 to 1.45; (4) Lead Frame Thickness: 0.09 to 0.20; (5) Lead Foot Length: 0.45 to 0.75; (6) Lead Pitch: 0.40 Basic; (7) Lead Foot Angle: 0° to 7°.
Features
LPC47N249-AAQ features: (1)3.3 Volt Operation (5V tolerant); (2)Programmable Wakeup Event Interface (IO_PME# Pin); (3)SMI Support (IO_SMI# Pin); (4)GPIOs (14); (5)Two IRQ Input Pins; (6)XNOR Chain; (7)PC99a, PC2001; (8)ACPI 2.0 Compliant; (9)64-pin STQFP Lead-free RoHS Compliant Package; (10)Intelligent Auto Power Management; (11)Serial Ports; (12)Infrared Communications Controller; (13)Multi-Mode Parallel Port with ChiProtect; (14)LPC Bus Host Interface.
Diagrams

![]() |
![]() LPC4045A151K |
![]() KOA Speer |
![]() Power Inductors 150uH 10% |
![]() Data Sheet |
![]()
|
|
||||||||||||
![]() |
![]() LPC4045A1R5M |
![]() KOA Speer |
![]() Power Inductors 1.5uH 20% |
![]() Data Sheet |
![]()
|
|
||||||||||||
![]() |
![]() LPC4045A221K |
![]() KOA Speer |
![]() Power Inductors 220uH 10% |
![]() Data Sheet |
![]()
|
|
||||||||||||
![]() |
![]() LPC4045A331K |
![]() KOA Speer |
![]() Power Inductors 330uH 10% |
![]() Data Sheet |
![]()
|
|
||||||||||||
![]() |
![]() LPC4045A6R8M |
![]() KOA Speer |
![]() Power Inductors 6.8uH 20% |
![]() Data Sheet |
![]()
|
|
||||||||||||
![]() |
![]() LPC4045ATED100K |
![]() KOA Speer |
![]() Power Inductors 10uH 10% |
![]() Data Sheet |
![]()
|
|
||||||||||||
(China (Mainland))









