Product Summary
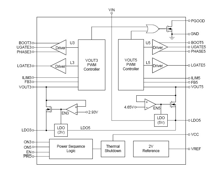
The RT8203GA is a dual step-down, Switch Mode Power Supply (SMPS) controller. It generates logic-supply voltages in battery-powered systems. The RT8203GA include two pulsewidth modulation (PWM) controllers, adjustable from 2V to 5.5V or fixed at 5V and 3.3V. It features two linear regulators providing 5V and 3.3V always-on outputs. Each linear regulator provides up to 100mA output current with automatic linear regulator bootstrapping to the main SMPS outputs. The applications of the RT8203GA include Notebook and Subnotebook Computers, PDAs and Mobile Communication Devices, 3- and 4-Cell Li+ Battery-Powered Devices.
Parametrics
RT8203GA absolute maximum ratings: (1)Input Voltage, VIN, EN to GND: -0.3V to 25V; (2)BOOTx to GND: -0.3V to 30V; (3)PHASEx to BOOTx: -6V to 0.3V; (4)PHASEx to GND: -1V to 25V; (5)VCC, LDOx, VOUTx, ONx, VREF, FBx, SKIP, PRO, PGOOD to GND: -0.3V to 6V; (6)UGATEx to PHASEx: -0.3V to (VBOOTx + 0.3V); (7)ILIMx to GND: -0.3V to (VCC + 0.3V); (8)LGATEx to GND: -0.3V to (VLDO5 + 0.3V); (9)TON to GND: -0.3V to 6V; (10)LDOx, VREF Short Circuit to GND: Momentary; (11)LDOx Circuit (Internal Regulator) Continuous: 100mA; (12)LDOx Circuit (Switchover to VOUTx) Continuous: 200mA; (13)Power Dissipation, PD @ TA = 25℃ SSOP-28: 1.053W; (14)Package Thermal Resistance (Note 2) SSOP-28, θJA: 95℃/W; (15)Junction Temperature: 50℃; (16)Lead Temperature (Soldering, 10 sec.): 260℃; (17)Storage Temperature Range: -65℃ to 150℃; (18)ESD Susceptibility (Note 3) HBM (Human Body Mode): 2kV; (19)MM (Machine Mode): 200V.
Features
RT8203GA features: (1)No Current Sense Resistor Needed; (2)1.5% Output Voltage Accuracy; (3)3.3V and 5V 100mA Bootstrapped Linear Regulators; (4)Internal Soft-Start and Soft-Shutdown Output Discharge; (5)Mach-PWM with 100ns Load Step Response; (6)3.3V and 5V Fixed or Adjustable Outputs; (7)7V to 24V Input Voltage Range; (8)Ultrasonic Mode Operation 25kHz (min.); (9)Power Good (PGOOD) Signal; (10)Over Voltage Protection; (11)Under Voltage Protection; (12)Over Temperature Protection; (13)RoHS Compliant and 100% Lead (Pb)-Free.
Diagrams

| Image | Part No | Mfg | Description | ![]() |
Pricing (USD) |
Quantity | ||||||||||||||||||
|---|---|---|---|---|---|---|---|---|---|---|---|---|---|---|---|---|---|---|---|---|---|---|---|---|
![]() |
![]() RT8203GA |
![]() |
![]() IC CTRLR SMPS STPDN DUAL 28SSOP |
![]() Data Sheet |
![]()
|
|
||||||||||||||||||
| Image | Part No | Mfg | Description | ![]() |
Pricing (USD) |
Quantity | ||||||||||||||||||
![]() |
![]() RT8202AGQW |
![]() |
![]() IC REG CTRLR BUCK PWM CM 16WQFN |
![]() Data Sheet |
![]()
|
|
||||||||||||||||||
![]() |
![]() RT8202GQW |
![]() |
![]() IC REG CTRLR BUCK PWM CM 16WQFN |
![]() Data Sheet |
![]()
|
|
||||||||||||||||||
![]() |
![]() RT8203 |
![]() Other |
![]() |
![]() Data Sheet |
![]() Negotiable |
|
||||||||||||||||||
![]() |
![]() RT8203GA |
![]() |
![]() IC CTRLR SMPS STPDN DUAL 28SSOP |
![]() Data Sheet |
![]()
|
|
||||||||||||||||||
![]() |
![]() RT8204 |
![]() Other |
![]() |
![]() Data Sheet |
![]() Negotiable |
|
||||||||||||||||||
![]() |
![]() RT8204AGQW |
![]() |
![]() IC REG DL BCK/LINEAR SYNC 16WQFN |
![]() Data Sheet |
![]()
|
|
||||||||||||||||||
(China (Mainland))








