Product Summary
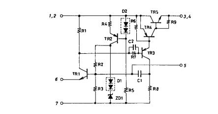
The STK795-815 is a Chopper Type Voltage Regulator.
Parametrics
STK795-815 absolute maximum ratings: (1)maximum DC input voltage: 40V; (2)maximum output current: 3A; (3)operating case temperature: 105℃; (4)junction temperature: 150℃; (5)storage temperature: -30 to +105℃.
Features
STK795-815 features: (1)self-oscillation type chopper regulator power IC; (2)possible to provide a 5V output power supply circuit with high efficiency; (3)functional trimmming is used to set 5V output with high accuracy; (4)cutoff function to cut off output voltage by external signal; (5)contains a transistor for overcurrent protector(foldback characteristic) and possible to set the protection level externally.
Diagrams

(China (Mainland))

