Product Summary
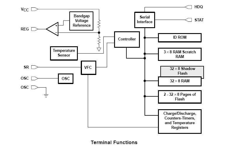
The BQ2019PW is an advanced battery-monitoring IC. It measures the charge and discharge currents in a rechargeable battery pack. In pack integration, the BQ2019PW is the basis of a comprehensive battery-capacity management system in portable applications such as cellular phones, PDAs, or other portable products. The BQ2019PW works with the host controller in the portable system to implement the battery management system.
Parametrics
BQ2019PW absolute maximum ratings: (1)Supply voltage (VCC with respect to GND): -0.3V to 7 V; (2)Input voltage, SR (all with respect to GND): -0.3V to VCC+0.3V; (3)Output current (STAT pin): 5mA; (4)Output current (REG pin): 400nA; (5)Output current (HDQ pin): 5mA; (6)Operating free-air temperature range, TA:–20℃ to 70℃; (7)Storage temperature range, Tstg:–65℃ to 150℃; (8)Lead temperature (soldering, 10 s): 300℃.
Features
BQ2019PW features: (1)Multifunction Monitoring IC Designed to Work With an Intelligent Host Controller; (2)Provides State-of-Charge Information for Rechargeable Batteries; (3)Enhances Charge Termination; (4)Ideal for Single-Cell Li-Ion or 3-Cell NiMH Applications; (5)High-Accuracy Coulometric Charge and Discharge Current Integration With Offset Calibration; (6)32 Bytes of General-Purpose RAM; (7)96 Bytes of Flash (Including 32 Bytes of Shadow Flash); (8)8 Bytes of ID ROM; (9)Internal Temperature Sensor Eliminates the; (10)Need for an External Thermistor; (11)Multifunction Digital Output Port; (12)High-Accuracy Internal Timebase Eliminates External Crystal Oscillator; (13)Low Power Consumption: Operating: <80μA; (14)Sleep: <1.5μA; (15)Single-Wire HDQ Serial Interface; (16) Packaging: 8-Lead TSSOP.
Diagrams

| Image | Part No | Mfg | Description | ![]() |
Pricing (USD) |
Quantity | ||||||||||||
|---|---|---|---|---|---|---|---|---|---|---|---|---|---|---|---|---|---|---|
![]() |
![]() BQ2019PW |
![]() Texas Instruments |
![]() Battery Management FLASHBased Precision Multi-Chem Counter |
![]() Data Sheet |
![]()
|
|
||||||||||||
![]() |
![]() BQ2019PWG4 |
![]() Texas Instruments |
![]() Battery Management FLASHBased Precision Multi-Chem Counter |
![]() Data Sheet |
![]()
|
|
||||||||||||
![]() |
![]() BQ2019PWR |
![]() Texas Instruments |
![]() Battery Management FLASHBased Precision Multi-Chem Counter |
![]() Data Sheet |
![]()
|
|
||||||||||||
![]() |
![]() BQ2019PWRG4 |
![]() Texas Instruments |
![]() Battery Management FLASHBased Precision Multi-Chem Counter |
![]() Data Sheet |
![]()
|
|
||||||||||||
(China (Mainland))









