Product Summary
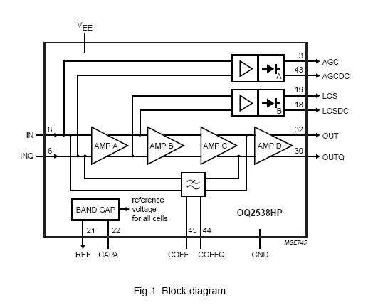
The OQ2538HP is a limiting amplifier IC intended for use as the main amplifier in 2.5Gbits/s Non-Return to Zero (NRZ) transmission systems (SDH/SONET). The applications of the OQ2538HP include Main amplifier in Synchronous Digital Hierarchy (SDH) and Synchronous Optical Network (SONET) systems for short, medium and long haul optical transmission, Level detector for laser diode control loops, Wideband RF gain block with internal level detectors.
Parametrics
OQ2538HP absolute maximum ratings: (1)VEE negative supply voltage: -6.0V to +0.5V; (2)DVI input voltage difference: -600mV to +600mV; (3)IIN, IINQ input current: -2.0mA to +2.0mA; (4)In DC current: pins 30 and 32: -6mA to +10mA; (5)pins 3, 18, 19 and 43: -3mA to +3mA; (6)pin 21: -2mA to +2mA; (7)pins 44 and 45: -1mA to +1mA; (8)pin 22: -0.1mA to +0.1mA; (9)Ptot total power dissipation: - 380mW; (10)Tj junction temperature: - 150℃; (11)Tstg storage temperature: -65℃ to +150℃.
Features
OQ2538HP features: (1)Differential 100 W outputs for direct connection to Current-Mode Logic (CML) inputs; (2)Wide bandwidth (3 GHz); (3)48.5dB limiting gain; (4)Noise figure typically 11dB; (5)Automatic offset compensation; (6)Input level-detection circuits for Automatic Gain Control (AGC) and Loss Of Signal (LOS) detection; (7)Low power dissipation (typically 270mW); (8)Single -4.5 V supply voltage; (9)Low cost LQFP48 plastic package.
Diagrams

| Image | Part No | Mfg | Description | ![]() |
Pricing (USD) |
Quantity | ||||
|---|---|---|---|---|---|---|---|---|---|---|
![]() |
![]() OQ2538HP |
![]() Other |
![]() |
![]() Data Sheet |
![]() Negotiable |
|
||||
| Image | Part No | Mfg | Description | ![]() |
Pricing (USD) |
Quantity | ||||
![]() |
![]() OQ2538HP |
![]() Other |
![]() |
![]() Data Sheet |
![]() Negotiable |
|
||||
![]() |
![]() OQ2538U |
![]() Other |
![]() |
![]() Data Sheet |
![]() Negotiable |
|
||||
![]() |
![]() OQ2541HP |
![]() Other |
![]() |
![]() Data Sheet |
![]() Negotiable |
|
||||
![]() |
![]() OQ2541U |
![]() Other |
![]() |
![]() Data Sheet |
![]() Negotiable |
|
||||
![]() |
![]() OQ2545BHP |
![]() Other |
![]() |
![]() Data Sheet |
![]() Negotiable |
|
||||
![]() |
![]() OQ2545HP |
![]() Other |
![]() |
![]() Data Sheet |
![]() Negotiable |
|
||||
(China (Mainland))









