Product Summary
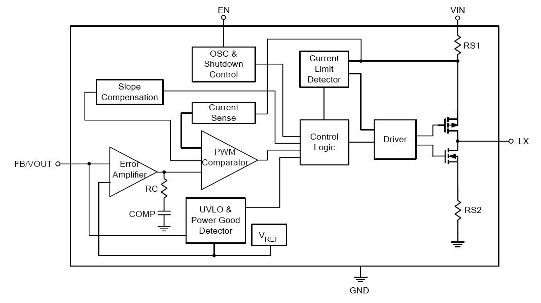
The RT8010GQW is a 1.5MHz, 1A, High Efficiency PWM Step-Down DC/DC Converter. Capable of delivering 1A output current over a wide input voltage range from 2.5V to 5.5V, the RT8010GQW is ideally suited for portable electronic devices that are powered from 1-cell Li-ion battery or from other power sources such as cellular phones, PDAs and hand-held devices. The applications of the RT8010GQW include Mobile Phones, Personal Information Appliances, Wireless and DSL Modems, MP3 Players, Portable Instruments.
Parametrics
RT8010GQW absolute maximum ratings: (1)Supply Input Voltage: 6.5V; (2) EN, FB Pin Voltage: -0.3V to VIN; (3) Power Dissipation, PD @ TA = 25℃; (4)WDFN-6L 2x2: 0.606W; (5)WQFN-16L 3x3: 1.47W; (6) Package Thermal Resistance ; (7)WDFN-6L 2x2, θJA: 165℃/W; (8)WDFN-6L 2x2, θJC: 20℃/W; (9)WQFN-16L 3x3, θJA: 68℃/W; (10)WQFN-16L 3x3, θJC: 7.5℃/W; (11)Lead Temperature (Soldering, 10 sec.): 260℃; (12) Storage Temperature Range: -65℃ to 150℃; (13) Junction Temperature: 150℃; (14) ESD Susceptibility (Note 2); (15) HBM (Human Body Mode): 2kV; (16) MM (Machine Mode): 200V.
Features
RT8010GQW features: (1)+2.5V to +5.5V Input Range; (2)Output Voltage (Adjustable Output From 0.6V to VIN); (3)RT8010 : 1.0V, 1.2V, 1.5V, 1.6V, 1.8V, 2.5V and 3.3V Fixed/Adjustable Output Voltage; (4)RT8010A Adjustable Output Voltage Only; (5)1A Output Current; (6)95% Efficiency; (7)No Schottky Diode Required; (8)1.5MHz Fixed-Frequency PWM Operation; (9)Small 6-Lead WDFN and 16-Lead WQFN Package; (10)RoHS Compliant and 100% Lead (Pb)-Free.
Diagrams

| Image | Part No | Mfg | Description | ![]() |
Pricing (USD) |
Quantity | ||||||
|---|---|---|---|---|---|---|---|---|---|---|---|---|
![]() |
![]() RT8010GQW |
![]() |
![]() IC REG BUCK SYNC ADJ 1A 6WDFN |
![]() Data Sheet |
![]()
|
|
||||||
| Image | Part No | Mfg | Description | ![]() |
Pricing (USD) |
Quantity | ||||||
![]() |
![]() RT8004 |
![]() Other |
![]() |
![]() Data Sheet |
![]() Negotiable |
|
||||||
![]() |
![]() RT8004GCP |
![]() |
![]() IC REG BUCK SYNC ADJ 3A 16TSSOP |
![]() Data Sheet |
![]()
|
|
||||||
![]() |
![]() RT8004GQV |
![]() |
![]() IC REG BUCK SYNC ADJ 3A 16VQFN |
![]() Data Sheet |
![]()
|
|
||||||
![]() |
![]() RT8005 |
![]() Other |
![]() |
![]() Data Sheet |
![]() Negotiable |
|
||||||
![]() |
![]() RT8008 |
![]() Other |
![]() |
![]() Data Sheet |
![]() Negotiable |
|
||||||
![]() |
![]() RT8008-12GB |
![]() |
![]() IC REG BUCK SYNC 1.2V SOT23-5 |
![]() Data Sheet |
![]()
|
|
||||||
(China (Mainland))








