Product Summary
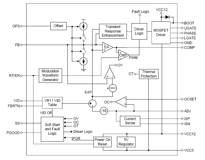
The RT8121GQW is a single phase PWM buck controller with one integrated MOSFET driver for advanced microprocessor application as VR12 VCCIO power. This controller maintains the same features as the multi-phase product family, but reduces the output to one phase for lower current systems. Features of the RT8121GQW include adjustable operation frequency, power good indication, external erroramp compensation, over voltage protection, over current protection, externally adjustable offset voltage, load transient enhancement (quick response), and enable/shutdown control to achieve optimal power management solution for various applications. The RT8121GQW comes in the WQFN-20L 3x3 package. The applications of the RT8121GQW include VR12 VCCIO Voltage Regulator, Low Voltage, and High Current DC/DC Converter.
Parametrics
RT8121GQW absolute maximum ratings: (1)Supply Input Voltage : -0.3V to 15V; (2)BOOT to PHASE: 1.7V to 15V; (3)PHASE to GND DC: -2V to 15V; (4)<20ns: -5V to 30V; (5)UGATE to PHASE DC: -0.3V to 15.3V; (6)<20ns: -5V to 18V; (7)LGATE to GND DC: (GND-0.3V) to (VCC + 0.3V); (8)<20ns: (GND-5V) to (VCC + 5V); (9)Input/Output Voltage: -0.3V to 6.5V; (10)Power Dissipation, PD @ TA = 25℃ WQFN-20L 3x3: 1.471W; (11)Package Thermal Resistance (Note 2) WQFN-20L 3x3, θJA: 68℃/W; (12)WQFN-20L 3x3, θJC: 7.5℃/W; (13)Lead Temperature (Soldering, 10 sec.): 260℃; (14)Junction Temperature: 150℃; (15)Storage Temperature Range: -65℃ to 150℃; (16)ESD Susceptibility (Note 3) HBM (Human Body Mode): 2kV; (17)MM (Machine Mode):200V.
Features
RT8121GQW features: (1)Single Phase Power Conversion; (2)One Embedded MOSFET Driver with Internal Bootstrap Diode; (3)1-bit VID Table for VR12 VCCIO; (4)Continuous Differential Inductor DCR Current Sense; (5)Adjustable Soft-Start; (6)Adjustable Frequency Typically at 200kHz; (7)Power Good Indication; (8)Adjustable Over Current Protection; (9)Over Voltage Protection; (10)Over Temperature Protection; (11)Small 20-Lead WQFN Package; (12)RoHS Compliant and Halogen Free.
Diagrams

| Image | Part No | Mfg | Description | ![]() |
Pricing (USD) |
Quantity | ||||||||||||||||||
|---|---|---|---|---|---|---|---|---|---|---|---|---|---|---|---|---|---|---|---|---|---|---|---|---|
![]() |
![]() RT8121GQW |
![]() |
![]() IC CTRLR BUCK PWM VM 20WQFN |
![]() Data Sheet |
![]()
|
|
||||||||||||||||||
| Image | Part No | Mfg | Description | ![]() |
Pricing (USD) |
Quantity | ||||||||||||||||||
![]() |
![]() RT8101AGS |
![]() |
![]() IC REG CTRLR BUCK PWM VM 8-SOP |
![]() Data Sheet |
![]()
|
|
||||||||||||||||||
![]() |
![]() RT8101AGSP |
![]() |
![]() IC REG CTRLR BUCK PWM VM 8-SOP |
![]() Data Sheet |
![]()
|
|
||||||||||||||||||
![]() |
![]() RT8101GS |
![]() |
![]() IC REG CTRLR BUCK PWM VM 8-SOP |
![]() Data Sheet |
![]()
|
|
||||||||||||||||||
![]() |
![]() RT8101GSP |
![]() |
![]() IC REG CTRLR BUCK PWM VM 8-SOP |
![]() Data Sheet |
![]()
|
|
||||||||||||||||||
![]() |
![]() RT8106/RT8106A |
![]() Other |
![]() |
![]() Data Sheet |
![]() Negotiable |
|
||||||||||||||||||
![]() |
![]() RT8108 |
![]() Other |
![]() |
![]() Data Sheet |
![]() Negotiable |
|
||||||||||||||||||
(China (Mainland))










