Product Summary
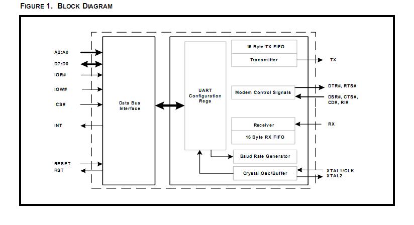
The ST16C1550CJ is a 2.97V to 5.5V UART with 16-byte fifo. The ST16C1550CJ provides enhanced UART functions with 16 byte FIFOs, a modem control interface, independent programmable baud rate generators with clock rates up to 1.5 Mbps.
Parametrics
ST16C1550CJ absolute maximum ratings: (1)Power Supply Range:7 Volts; (2)Voltage at Any Pin:GND-0.3V to 7 V; (3)Operating Temperature:-40℃ to +85℃; (4)Storage Temperature:-65℃ to +150℃; (5)Package Dissipation:500mW.
Features
ST16C1550CJ features: (1)Pin and functionally compatible to SSI 73M1550/2550; (2)16 byte Transmit FIFO; (3)16 byte Receive FIFO with error flags; (4)4 selectable Receive FIFO interrupt trigger levels; (5)Modem Control Signals (CTS#, RTS#, DSR#, DTR#, RI#, CD#); (6)Programmable character lengths (5, 6, 7, 8) with even, odd or no parity; (7)1.5 Mbps Transmit/Receive operation (24 MHz) ; (8)with programmable clock control; (9)Power Down Mode (50 uA at 3.3 V, 200 uA at 5 V); (10)Software controllable reset output; (11)2.97 to 5.5 Volt operation.
Diagrams

| Image | Part No | Mfg | Description | ![]() |
Pricing (USD) |
Quantity | ||||||||||||
|---|---|---|---|---|---|---|---|---|---|---|---|---|---|---|---|---|---|---|
![]() |
![]() ST16C1550CJ28-F |
![]() Exar |
![]() UART Interface IC UART W/16BYTE FIFO |
![]() Data Sheet |
![]()
|
|
||||||||||||
![]() |
![]() ST16C1550CJ28TR-F |
![]() Exar |
![]() UART Interface IC UART W/16BYTE FIFO |
![]() Data Sheet |
![]()
|
|
||||||||||||
(China (Mainland))









