Product Summary
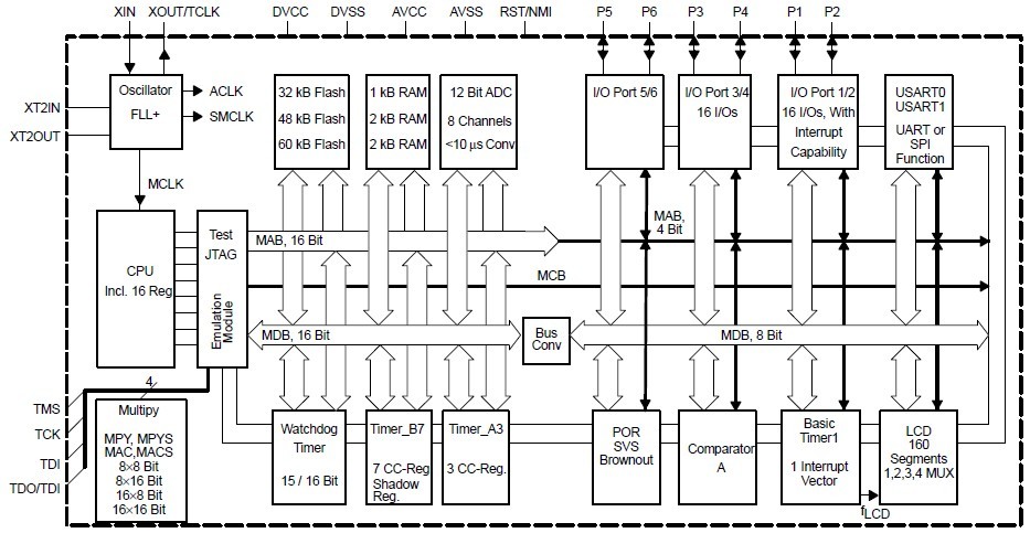
The Texas Instruments MSP430F449REV is an ultralow-power microcontroller. The microcontroller is designed to be battery operated for use in extended-time applications. The MSP430F449REV achieves maximum code efficiency with its 16-bit RISC architecture, 16-bit CPU-integrated registers, and a constant generator. The digitally-controlled oscillator provides wake-up from low-power mode to active mode in less than 6 μs. The MSP430F449REV is microcontroller configuration with two built-in 16-bit timers, a fast 12-bit A/D converter, one or two universal serial synchronous/asynchronous communication interfaces (USART), 48 I/O pins, and a liquid crystal driver (LCD) with up to 160 segments.
Parametrics
MSP430F449REV absolute maximum ratings: (1)Voltage applied at VCC to VSS: –0.3 V to 4.1 V; (2)Voltage applied to any pin(referenced to VSS): –0.3 V to VCC + 0.3 V; (3)Diode current at any device terminal: ±2 mA; (4)Storage temperature, Tstg:(unprogrammed device): –55℃ to 150℃; (programmed device): –40℃ to 85℃.
Features
MSP430F449REV features: (1)Low Supply-Voltage Range: 1.8 V to 3.6 V; (2)Ultralow-Power Consumption: Active Mode: 280 μA at 1 MHz, 2.2 V; Standby Mode: 1.1 μA; Off Mode (RAM Retention): 0.1 μA; (3)Five Power Saving Modes; (4)Wake-Up From Standby Mode in 6 μs; (5)16-Bit RISC Architecture, 125-ns Instruction Cycle Time; (6)12-Bit A/D Converter With Internal Reference, Sample-and-Hold and Autoscan Feature; (7)16-Bit Timer With Three or Seven Capture/Compare-With-Shadow Registers, Timer_B; (8)16-Bit Timer With Three Capture/Compare Registers, Timer_A; (9)On-Chip Comparator; (10)Serial Communication Interface (USART), Select Asynchronous UART or Synchronous SPI by Software; Two USARTs (USART0, USART1) In MSP430x44x Devices One USART (USART0) In MSP430x43x Devices; (10)Brownout Detector; (11)Supply Voltage Supervisor/Monitor With Programmable Level Detection; (12)Serial Onboard Programming, No External Programming Voltage Needed Programmable Code Protection by Security Fuse; (13)Integrated LCD Driver for Up to 160 Segments.
Diagrams

![]() |
![]() MSP4120 |
![]() Other |
![]() |
![]() Data Sheet |
![]() Negotiable |
|
||||
![]() |
![]() MSP4200 |
![]() Other |
![]() |
![]() Data Sheet |
![]() Negotiable |
|
||||
![]() |
![]() MSP430×11× |
![]() Other |
![]() |
![]() Data Sheet |
![]() Negotiable |
|
||||
![]() |
![]() MSP430×11×2 |
![]() Other |
![]() |
![]() Data Sheet |
![]() Negotiable |
|
||||
![]() |
![]() MSP430×12×2 |
![]() Other |
![]() |
![]() Data Sheet |
![]() Negotiable |
|
||||
![]() |
![]() MSP430×21×1 |
![]() Other |
![]() |
![]() Data Sheet |
![]() Negotiable |
|
||||
(China (Mainland))








