Product Summary
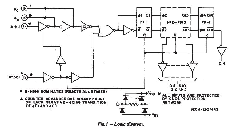
The CD4060BE is a CMOS 14-stage ripple-carry binary counter/divider and oscillator. The CD4060BE configuration allows design of either RC or crystal oscillator circuits. A RESET input is provided which resets the counter to the all-O’s state and disables the oscillator. A high level on the RESET line accomplishes the reset function. All counter stages of CD4060BE are master-stave flip-flops.The state of the counter is advanced one step in binary order on the negative transition of ΦI( and Φ0). All inputs and outputs are fully buffered. Schmitt trigger action on the input-pulse line permits unlimited input-pulse rise and fall times. The applications of the CD4060BE include control counters, timers, frequency dividers, time-delay circuits.
Parametrics
CD4060BE absolute maximum ratings: (1)DC supply-voltage range(VDD): -0.5 V to 20 V (voltage referened to VSS terminal); (2)Input votage range, all inputs: -0.5 V to VDD +0.5 V; (3)DC input current, any one input: ±10 mA; (4)Operating temperature range (Ta): -55℃ to 125℃; (5)Storage temperature range (Tstg): -65℃ to 150℃; (6)Lead temperature(during soldering): +265℃ (at distance 1/16 ±1/32 inch (1.59±0.79 mm) from case for 10 s max.
Features
CD4060BE features: (1)12 MHz clock rate at 15 V; (2)common reset; (3)fully static operation; (4)Schmitt trigger input-pulse line; (5)100% tested for quiesxent current at 20 V; (6)standardized, symmetrical output; (7)5 V , 10 V and 15 V parametric ratings; (8)meets all requirements of JEDEC tentative standsrd NO.13B, "standard specifications for description of "B" series CMOS devices".
Diagrams

| Image | Part No | Mfg | Description | ![]() |
Pricing (USD) |
Quantity | ||||||||||||
|---|---|---|---|---|---|---|---|---|---|---|---|---|---|---|---|---|---|---|
![]() |
![]() CD4060BE |
![]() Texas Instruments |
![]() Counter ICs 14-Bit Ripple |
![]() Data Sheet |
![]()
|
|
||||||||||||
![]() |
![]() CD4060BEE4 |
![]() Texas Instruments |
![]() Counter ICs 14-Bit Ripple |
![]() Data Sheet |
![]()
|
|
||||||||||||
(China (Mainland))









