Product Summary
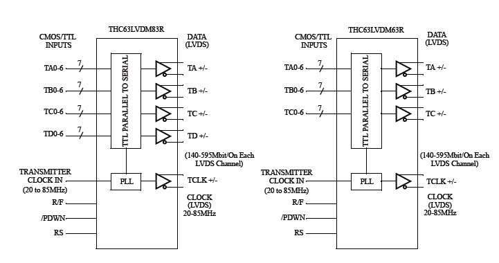
The THC63LVDM83R transmitter converts 28bits of CMOS/TTL data into LVDS (Low Voltage Differential Signaling) data stream. A phase-locked transmit clock of the THC63LVDM83R is transmitted in parallel with the data streams over a fifth LVDS link. At a transmit clock frequency of 85MHz, 28bits of RGB data and 4bits of LCD timing and control data are transmitted at a rate of 595Mbps per LVDS channel. Also available is THC63LVDM83R that converts 21bits of CMOS/TTL data into LVDS(Low Voltage Differential Signaling) data stream. The transmitter THC63LVDM83R can be programmed reduced swing LVDS through a dedicated pin for low power consumption and EMI.
Parametrics
THC63LVDM83R absolute maximum ratings: (1)Supply Voltage (VCC): -0.3V ~ +4.0V; (2)CMOS/TTL Input Voltage: -0.3V ~ (VCC + 0.3V); (3)CMOS/TTL Output Voltage: -0.3V ~ (VCC + 0.3V); (4)LVDS Driver Output Voltage: -0.3V ~ (VCC + 0.3V); (5)Output Current: continuous; (6)Junction Temperature: +125℃; (7)Storage Temperature Range: -55 ~ +150℃; (8)Resistance to soldering heat: +260℃ /10sec; (9)Maximum Power Dissipation @+25: 0.5W.
Features
THC63LVDM83R features: (1)28:4 Data channel compression at up to 298 Megabytes per sec throughput; (2)Wide dot clock range: 20-85MHz suited for VGA, SVGA, XGA and SXGA; (3)Narrow bus (10 lines or 8 lines) reduces cable size; (4)Support Reduced swing LVDS for Low EMI; (5)200mV swing LVDS/350mV swing LVDS selectable; (6)Support Spread Spectrum Clock Generator; (7)On chip Input Jitter Filtering; (8)PLL requires No external components; (9)Single 3.3V supply with 125mW(TYP); (10)Power-Down Mode; (11)Low profile 56 or 48 Lead TSSOP Package; (12)Clock Edge Programmable.
Diagrams
2
| Image | Part No | Mfg | Description | ![]() |
Pricing (USD) |
Quantity | ||||
|---|---|---|---|---|---|---|---|---|---|---|
![]() |
![]() THC63LVDM83R |
![]() Other |
![]() |
![]() Data Sheet |
![]() Negotiable |
|
||||
| Image | Part No | Mfg | Description | ![]() |
Pricing (USD) |
Quantity | ||||
![]() |
![]() THC63LVD103 |
![]() Other |
![]() |
![]() Data Sheet |
![]() Negotiable |
|
||||
![]() |
![]() THC63LVD104A |
![]() Other |
![]() |
![]() Data Sheet |
![]() Negotiable |
|
||||
![]() |
![]() THC63LVD104S |
![]() Other |
![]() |
![]() Data Sheet |
![]() Negotiable |
|
||||
![]() |
![]() THC63LVD823 |
![]() Other |
![]() |
![]() Data Sheet |
![]() Negotiable |
|
||||
![]() |
![]() THC63LVD824 |
![]() Other |
![]() |
![]() Data Sheet |
![]() Negotiable |
|
||||
![]() |
![]() THC63LVDF64A |
![]() Other |
![]() |
![]() Data Sheet |
![]() Negotiable |
|
||||
(China (Mainland))









